7. Februar 2025
Werkzeuge & Tests
Gebrauchsanleitung - Spülbeckenbrücke von Naniwa
Dieser Schärfsteinhalter wird einfach auf ein Spülbecken gelegt. So haben Sie immer einen sauberen Schärfplatz am fließenden Wasser. Vergessen Sie die gewohnte Schlammschlacht beim Schärfen! Die Auflagen sind aus Weichkunststoff, um Kratzer am Spülbecken zu vermeiden. Die Konstruktion ist sehr stabil.
Für Spülbeckenbreite (vorne nach hinten) 400 - 546 mm
Für Steinlänge 203 - 257 mm
Hinweis zur Spülbeckengröße: Wenn Ihr Spülbecken kleiner als 400 mm ist, kann das verschiebbare Edelstahlprofil um bis zu 7 cm gekürzt werden (Eisensäge oder Flex). Mindestbreite des Spülbeckens ist jedoch 33 cm!
Hinweis zur Steingröße: Diese Spülbeckenbrücke ist für den Profibereich konzipiert. Daher sollten die Sie möglichst große Steine mit einer Länge von mindestens 203 mm verwenden. Bei kleineren Steinen benötigen Sie eine selbstgebaute Zulage.
Für Spülbeckenbreite (vorne nach hinten) 400 - 546 mm
Für Steinlänge 203 - 257 mm
Hinweis zur Spülbeckengröße: Wenn Ihr Spülbecken kleiner als 400 mm ist, kann das verschiebbare Edelstahlprofil um bis zu 7 cm gekürzt werden (Eisensäge oder Flex). Mindestbreite des Spülbeckens ist jedoch 33 cm!
Hinweis zur Steingröße: Diese Spülbeckenbrücke ist für den Profibereich konzipiert. Daher sollten die Sie möglichst große Steine mit einer Länge von mindestens 203 mm verwenden. Bei kleineren Steinen benötigen Sie eine selbstgebaute Zulage.
1) Einstellung für Spülbeckenbreite
2) Einstellung für Steinlänge
3) hinterer Steinstopper höheneinstellbar
4) vorderer Steinstopper verschiebbar für verwendete Steingröße. Nach dem Lösen der Schraube kann der Stopper hochgeklappt und an den Stein zur Fixierung herangeführt werden. Die Schraube dafür befindet sich an der Unterseite.
2) Einstellung für Steinlänge
3) hinterer Steinstopper höheneinstellbar
4) vorderer Steinstopper verschiebbar für verwendete Steingröße. Nach dem Lösen der Schraube kann der Stopper hochgeklappt und an den Stein zur Fixierung herangeführt werden. Die Schraube dafür befindet sich an der Unterseite.

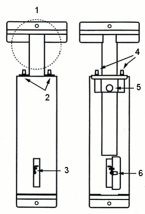
Links: Ansicht von oben
1) Verstellbereich für Spülbeckenbreite
2) Höheneinstellschrauben für hinteren Steinstopper
3) vorderer Steinstopper
Rechts: Ansicht von unten
4) Höheneinstellschrauben für hinteren Steinstopper
5) Feststellschraube für Spülbeckenbreite
6) Justierschraube für vorderen Steinstopper
1) Verstellbereich für Spülbeckenbreite
2) Höheneinstellschrauben für hinteren Steinstopper
3) vorderer Steinstopper
Rechts: Ansicht von unten
4) Höheneinstellschrauben für hinteren Steinstopper
5) Feststellschraube für Spülbeckenbreite
6) Justierschraube für vorderen Steinstopper
