Spezialschleifhilfe Grintec K2 für japanische Hobeleisen
Die Schleifhilfe Grintec K2 ist in ihrer Konstruktion auf die Eigenheiten japanischer Hobeleisen ausgerichtet. Japanische Hobeleisen sind im Vergleich zu westlichen Hobeleisen viel kürzer und dicker. Die Dicke verjüngt sich vom hinteren Ende zur Fase hin. Auch sind die Seiten nicht immer parallel. Der Name "Grintec" ist ein Kompositum aus dem englischen "grind" und "technology".
Zum Beispiel ist das abgebildete Eisen von Tsunesaburo hinten 67,6 mm breit und am Beginn der Fase nur 65,2 mm. Die Dicke beträgt hinten 9 mm, am Beginn der Fase 6 mm. Die Länge beträgt 102 mm - gemessen ohne Fase. Die Fase hat einen Winkel von 28° Durch die seitliche Abschrägung an der Fase hat die Schneide eine Breite von 59 mm. Diese Eigenschaften bedeuten eine besondere Herausforderung für die Konstruktion einer Schleiflehre.
Max. Eisendicke 10,5 mm
Min. Eisenbreite 40 mm
Max. Eisenbreite mit Anschlag 83 mm
Max. Eisenbreite bei demontiertem Anschlag: theoretisch nicht begrenzt, praktisch wahrscheinlich ca. 150 mm
Max. Eisenlänge 120 mm
Min. Eisenlänge 60 mm
Warnungen
- Beim Ein- und Ausspannen des Schneidwerkzeuges, Justieren, Schärfen und Prüfung der Schneide besteht die Gefahr, dass das Werkzeug hinfällt und es zu Verletzungen etwa an den Füßen kommt. Arbeiten Sie daher immer an einer Werkbank und achten auf sicheren Stand. Tragen Sie eine Arbeitshose und Sicherheitsschuhe.
- Vermeiden Sie bei der Benutzung der Schärfhilfe eine Berührung der Schneide.
- Sorgen Sie für ausreichende Beleuchtung. Arbeiten Sie an einem Ort, der nicht von Kindern aufgesucht wird.
- Verwahren Sie während und nach der Arbeit Schärfhilfe und Schneidwerkzeuge an einem für Kinder unzugänglichen Ort.
Vorsichtsmaßnahmen
- Beim Schärfen muss der Schärfstein sicher auf der Werkbank fixiert werden.
- Legen Sie den Schärfstein vor sich, führen Sie Schneidwerkzeug und Schärfhilfe sicher mit beiden Händen und beobachten Sie den Vorgang.
- Achten Sie darauf, dass die Rolle der Schärfhilfe nicht vom Stein rutscht.
- Verändern Sie nicht die Bauweise des Grintec K2. Verwenden Sie die Schärfhilfe nicht für andere Arbeiten.
- Verwenden Sie den Grintec K2 so, wie es in dieser Gebrauchsanleitung beschrieben wird.
Bezeichnungen am Hobeleisen
Wie in Abb. B 1a und B 1b dargestellt, werden die beiden Seiten des Hobeleisens Spiegelseite (hasaki-men) und Rücken (hamoto-men) genannt. Die schräge Fläche an der Schneide wird als Fase (kenma-men, wörtlich übersetzt "Schleiffläche") bezeichnet. Die Verschneidung von Rücken und Fase heißt Fasenende (hamoto, wörtlich "Beginn/Ursprung der Schneide"). Die Flanken des Hobeleisens werden hier Seiten genannt. Die Stelle, auf die wir zur Einstellung des Hobeleisens schlagen, heißt Kopf. Durch das Schlagen mit dem Justierhammer verformt sich der Kopf des Hobeleisens, hier "verformter Bereich" genannt.
Der Winkel zwischen der Verlängerung der Fase und dem Rücken heißt Fasenwinkel, der Abstand zwischen den beiden Flanken des Eisens Eisenbreite und der Abstand zwischen Kopf und Fasenende Eisenlänge.
- verformter Bereich des Rückens
- Rücken
- Seite/Flanke
- Eisenbreite
- verformter Bereich
- Kopf
- Fasenwinkel
- Eisenlänge ohne Fase
- Rücken
- Fasenende
- Fase
- Schneide
- Spiegelseite

Funktionen des Grintec K2
- Es ist entscheidend, dass die Fase plan auf dem Schärfstein liegt und dass der Winkel zwischen Schärfstein und Eisen genau eingehalten wird. Die Schärfhilfe Gintec K2 ermöglicht beides, ein sattes Aufliegen und einen genau eingehaltenen Schärfwinkel. Ein Schärfen, bei dem der bestehende Fasenwinkel eines Hobeleisens übernommen wird, nennen wir hier junkaku kenma.
- Es ist wichtig, dass der Fasenwinkel genau zur Form/Geometrie des Hobelkörpers passt. Der Fasenwinkel kann sich durch wiederholtes Schärfen jedoch so stark verändern, so dass eine Korrektur erforderlich wird. Mit dem Grintec K2 können Sie Eisen in einem zuvor bestimmten Winkel schärfen bzw. einen bestehenden Fasenwinkel korrigieren. Ein Schärfen in dieser Funktion nennen wir hier hakaku shitei kenma.
- Beim abschließenden Abziehen (Honen) des Eisens kann die gesamte Fase bearbeitet/poliert werden, doch dies ist recht aufwändig. Mit dem Grintec K2 können Sie den Aufwand reduzieren und zugleich eine extrem feine Schneide abziehen. Diese Funktion nennen wir choshiage kenma
- Durch ein ganz leichtes Anheben beim Abziehen wird die Schneide unempfindlicher und die Standzeit erhöht. Auf diese Weise eine Mikrofase mit dem Grintec K2 anzubringen nennen wir marume kenma, wörtlich übersetzt "abrundendes Schärfen".
Über Schärfsteine
Verwenden Sie je nach Zustand des Hobeleisens einen Schärfstein grober, mittlerer oder feiner Körnung. Sorgen Sie dafür, dass die Oberfläche des Schärfsteins ganz plan ist. Mit einer durch Abnutzung hohl gewordenen Oberfläche können Sie kein gutes Ergebnis erzielen. Es gibt mehrere Möglichkeiten zum Abrichten Ihres Schärfsteins. Sie können ihn etwa auf einer Betonplatte mit Granulat abrichten, zwei Schärfsteine gegeneinander reiben oder einen unserer Abrichtblöcke benutzen. Durch wiederholtes Wenden des Schärfsteins vermeiden Sie eine ungleichmäßige Abnutzung.
Abb. B3a plane Oberfläche
Abb. B3b durch Abnutzung hohl gewordene Oberfläche

Schärfen neuer Hobeleisen
Der Fasenwinkel ist von der Bauart/Geometrie des Hobels abhängig. Wir empfehlen, vor dem Schärfen eines neuen Hobeleisens dessen Fasenwinkel zu messen und notieren. Dies hilft, wenn einmal der Fasenwinkel korrigiert werden sollte.
Es kommt mitunter vor, dass die Fase bei einem neuen Hobeleisen nicht plan ist. In diesem Fall berührt beim ersten Schärfen nicht die gesamte Fase den Schärfstein. Verwenden Sie zunächst einen Stein mit grober Körnung, bis sich die Kontaktfläche über die gesamte Fase ausdehnt.
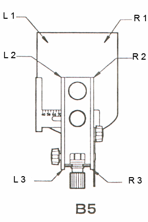
Haltung beim Schärfen
Fingerhaltung
L 1: linker Mittelfinger
L 2: linker Zeigefinger
L 3: linker Daumen
R 1: rechter Mittelfinger
R 2: rechter Zeigefinger
R 3: rechter Daumen

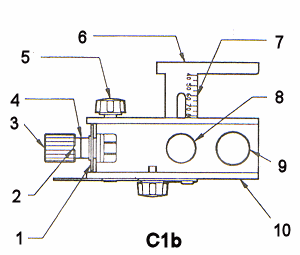
Die Teile der Schleiflehre - Ansicht von oben
- Drehbare Bezugsskala für Einstellbereich 0,0 bis 0,5 mm
- Kerbe zur genauen Ermittlung der Verstellung abzulesen an (1)
- Feineinstellschraube für Fasenwinkel
- Markierung für Standardeinstellung (kijunsen = Standardlinie)
- Feststellschraube für verschiebbare Rolle
- Verschiebbarer Seitenanschlag für Einstellung der Eisenbreite
- Skala zur Ablesung der Eisenbreite
- Feststellschraube für Seitenanschlag
- Schraube zum Fixieren des Hobeleisens
- Gehäuse
Alle Schrauben werden zum Feststellen im Uhrzeigersinn angezogen, zum Lösen gegen den Uhrzeigersinn gedreht.

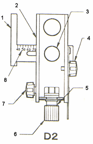
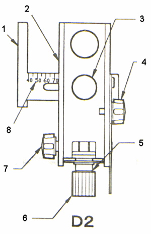
Die Teile der Schleiflehre - Ansicht von der Seite
- Feststellschraube für die Einstellung der Eisenlänge
- Führungsteil des Anschlags, der sich auf der gegenüberliegenden Seite befindet
- Befestigung der Rolle der Schärfhilfe Rolle der Schärfhilfe
- Mutter der Feststellschraube für verschiebbare Rolle Skala für die Einstellung des Fasenwinkels Skala für die Einstellung der Eisenlänge Verschiebbarer Anschlag zur Einstellung der Eisenlänge

Die Teile der Schleiflehre - Lehre für Winkeleinstellung
- Lehre zur Ermittlung des Fasenwinkels
- Skala zur Ermittlung der Eisenlänge und Breite

junkaku kenma - Übernahme des bestehenden Fasenwinkels eines Hobeleisens
Diese Methode findet dann Anwendung, wenn der bestehende Winkel des Hobeleisens als korrekt erachtet wird.
Mit der beiliegenden Lehre wird das Hobeleisen vermessen. Die Eisenlänge und Breite werden wie auf Abb. D1a und D1b ermittelt. Der Fasenwinkel wird wie in Abb. D1c bestimmt, indem die Fase an die Lehre gehalten und der passende Winkel ausgewählt wird. Das Hobeleisen hat in unserem Beispiel eine Breite von 75 mm, eine Länge von 95 mm und einen Fasenwinkel von 25 Grad. Für einen Fasenwinkel außerhalb des Spektrums schauen Sie bitte unter H nach.
Abb. D1a:
1) Gemessene Eisenbreite
2) Skala

Messen Sie die Länge des Eisens (1) ohne dessen Fase mit der beiliegenden Lehre. Beispiel hier: 95 mm.
1) Hobeleisen
2) Gemessene Eisenlänge ohne Fase

Messen Sie den Fasenwinkel, indem Sie die richtige Ausstanzung suchen (2). Wenn weder auf der Fasenseite noch auf Unterseite des Eisen ein Lichtspalt sichtbar ist, haben Sie den richtigen Fasenwinkel getroffen. Beispiel hier: 25 mm. japanische Eisen haben an der Spiegelseite (obere Seite im Hobel) eine höhlung, als "Ura" bezeichnet. Diese spielt bei dieser Messung keine Rolle. Jedoch ist auch die Rückseite (untere Seite im Hobel) mancher japanischen Hobeleisen konkav geformt. Messen Sie dort den Winkel nicht in der Mitte des Eisens sondern nahe an der seitlichen Kante!
1) Ausstanzungen für insgesamt 9 Winkel in 0,5 mm Schritten von 24 - 28°
2) Ergebnisbeispiel 25°

Einstellung des Seitenanschlags
Lösen sie die Feststellschraube (3) für den Anschlag (1) und stellen Sie an der Skala (8) die gemessene Eisenbreite - in diesem Beispiel 75 mm - ein. Die Skala wird direkt am seitlichen Gehäuseblech (2) abgelesen. Dann ziehen Sie die Schraube wieder fest. Ist das Eisen hinten breiter als vorne an der Fase, nehmen Sie diesen größeren Wert.
- Verschiebbarer Seitenanschlag für Einstellung der Eisenbreite
- Gehäuse
- Feststellschraube für Seitenanschlag
- Feststellschraube zur Einstellung der Eisenlänge/Tiefenanschlag
- Standardlinie
- Schraube zur Feineinstellung
- Feststellschraube für verschiebbare Rolle
- Skala für Eisenbreite
Drehen Sie die Schraube zur Feineinstellung (6) soweit, bis die Vorderkante der geriffelten Schraube an der Standardlinie (5) liegt.

Einstellung des Tiefenanschlags und der Rolle
Lösen Sie die Feststellschraube des Tiefenanschlags (6) und der Rolle (4). Stellen Sie die ermittelte Eisenlänge ohne Fase von 95 mm und den ermittelten Fasenwinkel von 25 Grad mit Hilfe der Skalen ein und ziehen beide Feststellschrauben wieder an. Sollte der Fasenwinkel 28 Grad überschreiten oder 24 Grad unterschreiten, so verfahren Sie bitte analog zu H. Anschließend ziehen Sie beide Schrauben wieder fest.
- Skala für die Einstellung der Eisenlänge
- Verschiebbarer Anschlag zur Einstellung der Eisenlänge
- Hier treffen sich Längenwert und Winkelwert
- Mutter der Feststellschraube für verschiebbare Rolle. Auf dieser ist die Winkelskala eingestanzt.
- Skala für die Einstellung des Fasenwinkels
- Feststellschraube für den Tiefenanschlag

Befestigung des Hobeleisens
Legen Sie das Hobeleisen (3) so ein, dass es an den Seiten- (1) und Tiefenanschlag (4) stößt und fixieren es durch Anziehen der Feststellschraube (2). Das Gehäuse hat etwas Luft für mögliche Verformungen am Kopf des Hobeleisens (vgl. Abb. C1c), um hier einen Kontakt zu vermeiden. Beim Einstellen des Hobeleisens mit dem Hammer wird dieses über die Jahre mitunter am Kopf erheblich gestaucht, es bilden sich Wulste. Ist die Verformung jedoch größer, kann das Hobeleisen nicht richtig in die Schärfhilfe eingespannt werden. In diesem Fall sollten Sie zunächst die Verformung am Kopf des Hobeleisens beseitigen, z. B. mit einer Feile.
- Verschiebbarer Seitenanschlag
- Schraube zum Fixieren des Hobeleisens
- Hobeleisen
- Verschiebbarer Tiefenanschlag

Feineinstellung des Schärfwinkels
Wenn Sie wie beschrieben vorgehen, dann sollte der Schärfwinkel ziemlich genau dem Fasenwinkel des Hobeleisens entsprechen. Für eine noch genauere Einstellung sollten Sie - wie in Abb. D6 - die Schärfhilfe mit eingespanntem Eisen auf die Lehre setzen und prüfen, ob die Fase (4) genau auf der Lehre liegt. Sollte sich an der Schneide ein Spalt zeigen, so drehen Sie die Schraube zur Feineinstellung (1) etwas im Uhrzeigersinn. Bei einem Spalt am Ende der Fase drehen Sie entsprechend gegen den Uhrzeigersinn.
- Feineinstellschraube für Fasenwinkel
- Rolle
- Hobeleisen
- Fase muss plan aufliegen
- Lehre

Schärfvorgang
Setzen Sie die Schärfhilfe so auf, dass Rolle (3) und Fase (2) auf dem Stein liegen. Fahren Sie dann mehrmals hin und zurück und prüfen nochmals. Sollte der Abtrag an der Schneide zu stark sein, drehen Sie die Schraube zur Feineinstellung etwas gegen Uhrzeigersinn. Wenn eher am Ende der Fase geschliffen wird, drehen Sie entsprechend im Uhrzeigersinn. Stellen Sie die Schärfhilfe so ein, dass ein gleichmäßiges Schärfen gewährleistet ist. Mit dieser Einstellung fahren Sie so lange mit dem Schärfen fort, bis die gesamte Fase bis zur Schneide geschliffen ist. Danach setzen Sie das Schärfen auf einem feinen Abziehstein fort. Schließlich wird das Hobeleisen wieder gelöst und bei Bedarf die Spiegelseite des Eisens abgezogen.
- Schleifsteinoberfläche
- Fase
- Rolle

Wiederholtes Schärfen
hakaku shitei kenma - Schärfen mit einem festgelegten Fasenwinkel d. h. Korrektur eines bestehenden Fasenwinkels
Bei dieser Methode wird auf den bestehenden Winkel eines Hobeleisens keine Rücksicht genommen, weil es verschliffen ist oder der Fasenwinkel geändert werden soll.
Wir erklären hier das Vorgehen am Beispiel eines Hobeleisens mit der Breite 75 mm und einer Länge von 95 mm, welches mit einem Fasenwinkel von 25 Grad abgezogen werden soll.
Einstellung des Seitenanschlags
Lösen Sie die Feststellschraube des Seitenanschlags (3), stellen Sie den Anschlag mit Hilfe der Skala auf 75 mm ein und ziehen die Feststellschraube wieder an.
- Verschiebbarer Seitenanschlag
- Gehäuse
- Feststellschraube für Seitenanschlag
- Feststellschraube für Tiefenanschlag
- Standardlinie
- Verschiebbarer Tiefenanschlag
- Feineinstellschraube für Fasenwinkel
- Feststellschraube für verschiebbare Rolle
- Skala für Ablesung der Eisenbreite
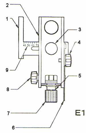
Feinjustierung
Drehen Sie die Schraube zur Feineinstellung (7) wie in Abb. E1, sodass die Vorderkante der geriffelten Schraube an der Standardlinie (5) liegt.

Einstellung des Tiefenanschlags und des Gleitschuhs
Lösen Sie die Feststellschrauben für den Tiefenanschlag und den Gleitschuh, der die Rolle führt. Stellen Sie die Skala des Tiefenanschlags auf eine Eisenlänge von 95 mm und die Skala des Gleitschuhs auf einen Fasenwinkel von 25 Grad ein und ziehen die Feststellschrauben wieder an (s. Abb. E3). Sollte der Fasenwinkel 28 Grad überschreiten oder 24 Grad unterschreiten, so schauen Sie bitte unter H nach.
- Skala für Einstellung der Eisenlänge (Tiefenanschlag)
- Skalenstrich 95 mm und Skalenstrich 25° müssen sich treffen
- Winkelskala des Gleitschuhs
Fixieren des Hobeleisens und Schärfen
choshiage kenma - Honen bzw. Abziehen
Vor dem Honen (auch "Abziehen" genannt) bringen Sie das Hobeleisen zunächst in einen Zustand, wie rechts neben Abbildung D7 bzw. E3 beschrieben.
Zustand vor dem Honen (Abziehen)
Drehen Sie die Bezugsskala so, dass die Kerbe der Einstellschraube auf Null steht.
- Drehbare Bezugsskala für Einstellbereich 0,0 bis 0,5 mm
- Kerbe an der Justierschraube auf 0 stellen
- geriffelte Justierschraube
Einstellung mit der Justierschraube
Drehen Sie die Justierschraube im Uhrzeigersinn, bis die Kerbe bei 0.2 steht. Die Bezugsskala zeigt die Veränderung des Fasenwinkels an. Der Fasenwinkel nimmt also um 0,2 Grad zu, wenn die Justierschraube von 0 bis 0.2 nach rechts gedreht wird.
4. Drehbare Bezugsskala für Einstellbereich 0,0 bis 0,5 mm
5. Geriffelte Justierschraube
6. Einstellung der Kerbe auf einen Wert von 0,2

Abziehen
Wiederholtes Abziehen
Mikrofase (wörtlich: abrundendes Schärfen) - Haltbarkeit der Schneide erhöhen
Bringen Sie das Eisen zunächst in einen Zustand, wie er neben den Abbildungen D7, E3 oder F4 beschrieben wurde.
Mikrofase
Hier wird bei der Vorwärts- und Rückwärtsbewegung in einem unterschiedlichen Winkel gearbeitet. Bei der Vorwärtsbewegung wird - wie in Abb. G1 - die Schleifhilfe so geführt, dass die Rolle den Stein berührt. Beim Zurückziehen wird sie etwas angehoben, wie auf Abb. G2, so dass der Winkel gegen Ende des Steins etwa 45 Grad erreicht. Wiederholt man diese Bewegung etwa 5-10 Mal, erhält man eine Mikrofase.
Hinweise zur Mikrofase
- Verwenden Sie einen feinen Abziehstein
- Wird der Winkel bei der Vorwärtsbewegung erhöht, wird die Schneide beschädigt.
- Führen Sie die beschriebene Bewegung nicht mehr als zehn Mal aus.

Fasenwinkel außerhalb des Skalenbereichs dieser Einstelllehre
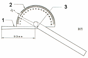
Mit der Grintec Lehre können Fasenwinkel zwischen 24 und 28 Grad gemessen werden. Auch die Skala zur Einstellung des Fasenwinkels zeigt diesen Bereich an. Liegt der Fasenwinkel außerhalb dieses Bereichs, also über 28 oder unter 24 Grad, kann der Winkel folgendermaßen ermittelt und die Anschläge eingestellt werden.
- Rücken des Hobeleisens
- Gradskala
- Fase

Verwendung der Umrechnungsgraphik

Einstellung des Tiefenanschlags und der Gleitschuhs
Wie aus Abb. H3 hervorgeht, wird der Fasenwinkel auf 26 und der Tiefenanschlags auf 103,7 eingestellt und mit den Feststellschrauben fixiert. Mit der Umrechnungsgrafik kann also (ergänze: der für die Einstellung des Tiefenanschlags) erforderliche Wert bestimmt werden, der Fasenwinkel wird dabei auf 26 Grad eingestellt.
H: | Skala für die Einstellung der Eisenlänge |
R: | Skala für die Einstellung des Fasenwinkels |
26 x 103.7: | Die Markierungen 103,7 mm und 26° müssen sich genau gegenüberstehen |


Pflege
Wenn sich durch langen Gebrauch die Rolle abnutzt, wechseln Sie diese bitte aus. Sie sollte erneuert werden, wenn ihr Durchmesser weniger als 19 mm beträgt. Lösen Sie hierzu die Schraube an der Achse der Rolle und entnehmen die Rolle.
Stellen Sie sicher, dass sich alle verstellbaren Teile leicht bewegen lassen.
Prüfen Sie, ob die Stellschrauben gut sitzen. Wenn die Stellschrauben wackeln, kann das Eisen nicht ausreichend fixiert werden und es besteht erhöhte Verletzungsgefahr durch Hinunterfallen.
Waschen Sie die Schärfhilfe nach Gebrauch mit Wasser und wischen sie anschließend mit einem trockenen Tuch ab. Wird die Schärfhilfe im nassen Zustand belassen, kann sich Rost bilden.